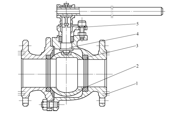
球阀是旋塞阀的改进演变,它们属同一类型,球阀的关闭件是球体而不是旋塞球阀,球体绕阀体中心线作90°旋转,可启闭阀门。球阀主要起切断、分配和改变介质流动方向的作用,设计成V形开口的球阀还可作流量调节用。球阀具备旋塞阀的优点,同时克服了旋塞阀的缺点,球阀的优点如启闭力矩小,密封性能好等。法兰连接端浮动球侧装两体式球阀如图1所示。
图1法兰连接端浮动球侧装两体式球阀1一阀体 2一球体 3一密封圈 4一阀杆 5一填料压盖
(1)球阀的分类球阀分类方法很多,下面介绍几种。1)按球体结构形式分类

2)按球阀流通形式分类

3)按阀体装配形式分类

4)按阀体流道直径分类

(2)球阀的性能球体流道为圆形球阀,不缩径的球体圆形流道与阀体圆形流道连接呈直管段,所以流阻非常小。根据不同的工况,密封时可选择金属/金属和金属/非金属(+金属),密封性能好。球阀在体积小、启闭迅速、操作方便、安全可靠、使用寿命长及适用范围广等优点,部分取代了闸阀、截止阀及节流阀。多通道球阀可用来实现介质分配与改变介质流向的功能。下面对球阀性能的优缺点进行介绍。优点:(1)流体阻力小(全通径流道阀体的阻力系数与同长度管段几乎相同)。(2)结构简单,阀体对称、体积小,可双向流动、双向密封。(3)密封可靠(尤其是阀座密封面采用非金属材料时)。(4)操作方便、启闭迅速,转动90°就能完成,便于远距离控制。(5)维修方便,阀座密封圈一般都是活动的,拆换方便,如果采用上装式结构,可在线更换。(6)阀门在全开或全关位置,密封副与介质完全隔离,高速通过的介质不会冲蚀密封副。(7)球体在启闭时是旋转擦拭的过程,所以多数结构的球阀可用于带悬浮固体颗粒的介质,选用合适的耐磨阀座密封材料,也可用于粉状介质。(8)直通式球阀作切断用,使用广泛;三通、四通及五通式球阀用于分配介质和改变介质流向;V形球阀可作节流用。(9)全通径球阀全开时清扫球易于通过清扫管线,在石油、天然气管道中广泛应用。(10)适用范围广:工作压力从真空至高压,公称直径为DN8~3000,工作温度为-254 ~815℃。缺点:
(1)阀座密封圈等零件如采用非金属材料时,其压力-温度额定值低于球阀壳体(金属)的压力-温度额定值,致使球阀实际的使用压力、温度及介质受其限制。(2)阀座密封圈等零件采用非金属材料时,应考虑球阀的耐火及防静电结构性能。(3)球体的加工和研磨有难度,金属密封副球阀(硬密封球阀)的加工更加复杂。(4)粉尘、结焦及黏性介质充塞进活动的密封圈内时,会影响阀座的位移,进而影响密封,所以不宜用于含粉尘、易结焦及黏度大的介质。
阀门厂家专业针对各类减压阀、球阀、防腐阀门
当前文章标签:法兰闸阀,法兰球阀你觉得这篇文章怎么样?
产品推荐